東營市創進環保科技有限公司危險廢棄物處置項目位于東營經濟技術開發區東營廣利化工產業園渤海路以北、大海支路以東,項目占地面積20000㎡左右,實際總投資7000萬元,環保投資170萬元。本項目于2017年12月22日經東營經濟技術開發區環境保護局審批取得環評批復,文號為東開環審[2017]22號,項目2017年12月開工建設,2018年12月竣工,2018年12月10日取得試生產批復,2019年10月20日通過竣工環保驗收。項目主要建設有高氮廢物焚燒系統裝置1套、高氯廢物焚燒裝置1套以及輔助工程和公用工程,年處置高氮危險廢物5000t,高氯危險廢物1000t。
高氮廢物焚燒裝置采用回轉窯焚燒設備,煙氣凈化處理工藝SNCR法脫硝+急冷除酸塔+消石灰噴射裝置+活性炭噴射裝置+布袋除塵器+SCR脫硝。主要處置危險廢物種類為苯胺焦油(HW11 261-019-11)、硝基苯焦油(HW11 261-015-11)、廢離子膜(HW13 900-015-13)、苯胺污泥(HW45 261-081-45)、氫氯化廢催化劑(HW50 261-152-50)、轉化廢催化劑(HW50 261-152-50)、甲醇廢液(HW45 261-084-45 )。
高氯廢物焚燒裝置采用液體噴射爐焚燒設備,煙氣凈化處理工藝急冷塔+降膜吸收塔+堿洗塔。主要處置危險廢物種類為甲烷氯化物重組分(HW11 261-114-11)。
本項目產生的危險廢物主要有爐渣、飛灰、廢脫硝催化劑、廢活性炭、廢棄包裝物、廢礦物油等。自產危廢委托有資質第三方進行處置。
東營市創進環??萍加邢薰疚鬯幚怼傲闩欧拧表椖?,總占地面積30畝,設計處理能力為20000m3/d,主要為山東金嶺新材料有限公司和東營市濱海熱力有限公司提供污水處理服務。
“零排放”根據水質分為低鹽廢水、循環水廢水和高鹽廢水三類水質分別采取不同的處理工藝:低鹽廢水是通過炭濾池和機濾除去里面雜質。循環水廢水采用V型濾池、臭氧氧化后通過高密度澄清池及BAF生物曝氣池進入超濾后經軟化最終在通過反滲透裝置將濃水分離。高鹽廢水則采用電氧化除去其中COD后經樹脂軟化進入下道高鹽混合廢水處理工藝,其工藝是采用納濾裝置將液體中的氯化鈉進行分離,再經海水反滲透和高級氧化系統最后進入ED膜進行濃縮,其濃液去蒸發將氯化鈉固體析出。通過處理后的廢水90%會用到生產系統中去,固體氯化鈉則回用至離子膜燒堿進行化鹽。項目已建成投運,山東金嶺新材料有限公司將真正實現高鹽廢水的資源化,打通鹽化工產業循環經濟鏈條,實現污水零排放。
東營市創進環保科技有限公司危險廢物信息公開
地址:山東省東營市開發區錢塘江路與烏海路交叉口西
法人代表:趙曰森
環保負責人:李明政
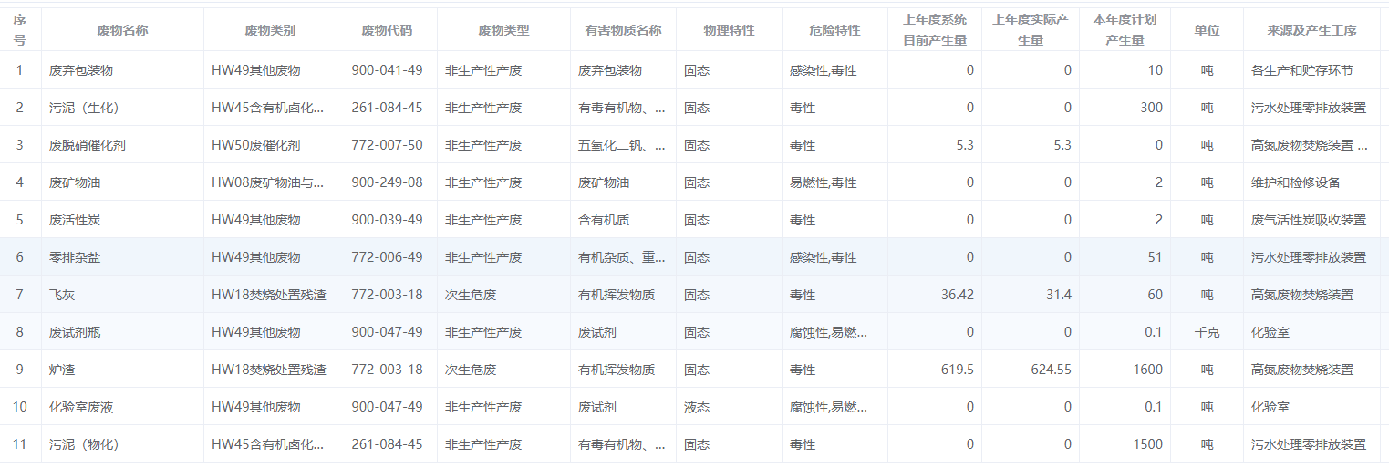
危廢種類:廢棄包裝物、污泥(物化)、廢脫銷催化劑、污泥(生化)、廢礦物油、廢活性炭、零排雜鹽、飛灰、廢試劑瓶、化驗室廢液、爐渣。
環境污染防治措施:防風,防雨,防曬,防雷,防揚散,防流失,防滲漏,泄漏液體收集
環評批文:東開環審【2017】22號、東開環審【2019】3號


